詳細說明
HTS單座調節閥是一種頂導向結構的調節閥,閥體流體通道呈S流線型,壓降損失小,流量大,可調范圍廣,流量特性曲線精度高,閥芯導向面積大,抗震性好。調節閥配用多彈簧式薄膜執行機構,結構緊湊,輸出力大。可用于控制各種不同壓力和溫度的流體。
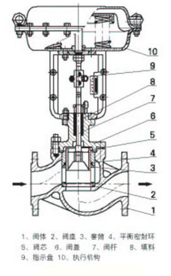
一、HTS單座調節閥 概述
1. 閥芯采用上導向結構,閥結構緊湊,有呈S流線型的通道,使其壓降損失小,流量大,可調范圍廣,流量特性精度高。
2. 符合IEC534-2-1976標準。
3. 調節閥的泄漏量符合ANSI B16.104標準。
4. HTS單座調節閥配用多彈簧薄膜或氣缸執行機構,其結構緊湊,輸出力大。本產品符合GB/T4213-92標準。
二、HTS單座調節閥 閥體參數
閥體型式 | 直通單座鑄造球型閥 | |
公稱通徑 | 40、50、65、80、100、150、200mm | |
公稱壓力 | ANSI 125、150、300、600;JIS 10、16、20、30、40K;PN1.6、4.0、6.4MPa | |
連接型式 | 密封面型式 | FF、RF、RJ、LG、MFM |
法蘭標準 | JIS B220、JB/T79、ANSI B16.5-1981、GB/T9113、HG20594-97、HG20618-97等 | |
焊接標準 | 嵌接焊SW(40~50mm);對接焊BW(65~200mm) | |
材料 | 鑄鋼(ZG230-450)、鑄不銹鋼(ZG1Cr18Ni9Ti、ZG1Cr18Ni12Mo2Ti、SCS16)鈦等 | |
上閥蓋 | 常溫型 | -17~+230℃ |
伸長I型 | -45~-17℃、 +230~+566℃ | |
伸長II型 | -100~-45℃ | |
伸長III型 | -196~-100℃ | |
壓蓋型式 | 螺栓壓緊式 | |
密封填料 | V型聚四氟乙烯填料、含浸聚四氟乙烯石棉填料、石棉編織填料、石墨填料 | |
三、HTS單座調節閥 閥內件
閥芯形式 | 單座柱塞型閥芯 | |
流量特性 | 金屬閥座 | 等百分比特性(%)和線性特性(L) |
軟閥座 | ||
材料 | 不銹鋼、不銹鋼堆焊司太萊合金、鈦和耐腐蝕合金等 | |
四、HTS單座調節閥 執行機構
執行器型式 | HA多彈簧薄膜執行機構、VA6單作用氣缸活塞執行機構、VP雙作用氣缸活塞執行機構 |
膜片材料 | 乙丙橡膠夾尼龍布、丁腈橡膠夾尼龍布 |
彈簧范圍 | 20~100、80~240KPa(HA型),190~350、190~400KPa(VA6型) |
供氣壓力 | 140~400KPa(HA型)、400~500KPa(VA6型、VP型) |
氣源接口 | RC1/4"(HA、VA型)、G3/8、1/2"(VP型) |
環境溫度 | -30~+70℃ |
作用形式 | 氣-關式或氣-開式 |
可配附件 | 定位器、空氣過濾減壓器、保位閥、行程開關、閥位傳送器、手輪機構等 |
五、HTS單座調節閥 主要性能
泄漏量 | 金屬閥座 | 小于閥額定容量的0.01%,符合ANSI B16.104-1976 IV級 |
軟閥座 | 小于閥額定容量的10 ,符合ANSI B16.104-1976 VI級 | |
回差 | 帶定位器 | 小于全行程的1% |
不帶定位器 | 小于全行程的3% | |
基本誤差 | 帶定位器 | 小于全行程的±1% |
不帶定位器 | 小于全行程的±3% | |
— | 注:采用標準的V型聚四氟乙烯填料 | |
可調范圍 | 50:1 | |
六、HTS單座調節閥 CV值和行程
公稱通徑 | 32 | 40 | 50 | 65 | 80 | 100 | 125 | 150 | 200 | 250 |
閥座直徑 | 32 | 40 | 50 | 65 | 80 | 100 | 125 | 150 | 200 | 250 |
額定Cv值 | 20 | 30 | 50 | 85 | 125 | 200 | 320 | 420 | 700 | 820 |
額定行程 | 25 | 38 | 50 | 75 | 100 | |||||
七、HTS單座調節閥 高精度流量特性閥芯(%CF、LCF、%TF、LTF)
公稱通徑 | 32 | 40 | 50 | 65 | 80 | 100 | 125 | 150 | 200 | |||||||||||||||||
閥座直徑 | 25 | 32 | 25 | 32 | 40 | 32 | 40 | 50 | 40 | 50 | 65 | 50 | 65 | 80 | 65 | 80 | 100 | 80 | 100 | 125 | 100 | 125 | 150 | 125 | 150 | 200 |
額定Cv值 | 10 | 17 | 10 | 17 | 24 | 17 | 24 | 44 | 24 | 44 | 68 | 44 | 68 | 99 | 68 | 99 | 175 | 99 | 175 | 275 | 175 | 275 | 360 | 275 | 360 | 640 |
額定行程 | 25 | 38 | 50 | 75 | ||||||||||||||||||||||
八、HTS單座
調節閥 主要外形及連接尺寸

32、40、50、65、80、100、125、150、200、250mm
結構長度
由于各標準連接尺寸都不相同,如需要詳細連接尺寸及技術書資料,請聯系公司技術部或銷售部 ,技術人員將會為
您提供完整的圖紙及技術資料。
閥體高度
執行器高度
九、HTS單座調節閥 主要外形及連接尺寸
1、HTS單座調節閥名稱與參數
2、HTS單座調節閥口徑、壓力
3、HTS單座調節閥作用方式
4、HTS單座調節閥壓差(包括正常工作壓差,閥關閉時壓差)
5、HTS單座調節閥閥體及閥內組件材質
6、HTS單座調節閥耐蝕性及附件
上一個:氣動薄膜精小型角形調節閥ZJHS 下一個:ZMPQ/ZSPQ氣動薄膜活塞切斷閥



相關新聞
相關產品
自力式壓力調節閥ZZY系列
自力式壓力/壓差控制閥
電動O型切斷球閥ZDRO
自力式溫度調節閥